新闻中心

联系我们

苏州威道信息科技有限公司

联系人:俞先生

电话:18501563837

QQ邮箱:360561463@qq.com

网易邮箱:18501563837@163.com

地址:苏州市高新区浒牌路3号创立方长谷智汇坊1幢307室  


GE 3D打印燃油喷嘴专利通过

GE 3D打印燃油喷嘴专利通过
GE 3D打印燃油喷嘴专利通过
GE 3D打印燃油喷嘴专利通过

燃油喷嘴是飞机发动机中一个不起眼的小部件。它像一个戳在两个粗短支架上的水龙头,一只手就可以握住。但把这个小零件造好,却要用上GE历史上最具颠覆性的技术之一——3D打印-增材制造。

颠覆不仅仅来自于制造技术,更来自于以功能导向的设计。

如今,根据3D科学谷对GE于2020年3月17日刚刚获得的专利的市场观察,GE最新获得了一项燃油喷嘴的专利,燃油喷嘴这一革命性的产品,正在完成自身的不断的迭代。

GE_Patent来源:US10591164B2

block 复杂成就功能实现

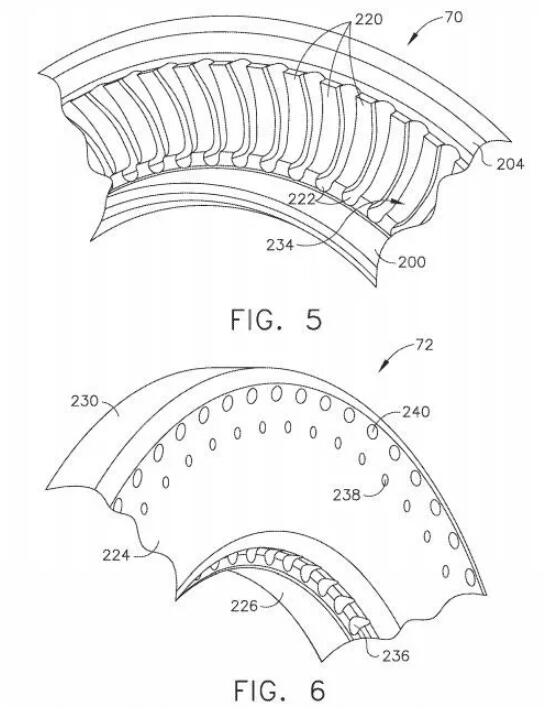
GE通过3D打印的用于燃气涡轮发动机的燃油喷嘴包括如下等受专利保护的设计:

GE_Patent_2来源:US10591164B2

环形外部主体:环形外部主体平行于中心线轴线延伸,并且具有在前端和后端之间延伸的外表面,其中,多个开口穿过外表面;

环形主喷射环:其设置在环形外部主体的径向内侧,该环形主喷射环包括延伸的主燃料通道;

多个主燃料孔口:每个主燃料孔口与主燃料通道连通并与环形外部主体的开口之一对准。

环形文丘里管:设置在环形主喷射环的径向内侧,环形文丘里管包括具有最小直径的喉部,喉管上游的大致圆柱形部分,喉管下游的发散部分;

GE_Patent_3来源:US10591164B2

环形分离器:设置在环形文丘里管的径向内侧,该环形分离器包括在内壁和外壁,内壁和外壁在前端处接合在一起,内壁和外壁朝向彼此会聚以在环形分离器的后端处接合在一起,以及它们在前端和后端之间彼此间隔开以限定分离腔,其中,外壁的上游部分具有第一轮廓,该第一轮廓从前端向后端收敛,环形文丘里管的上游部分的第二轮廓,至少一直到喉部。

涡流叶片:在环形文丘里管和环形分离器之间延伸的一系列外部涡流叶片,其中,外部旋流叶片通道在外部旋流叶片的下游延伸至来自外部旋流叶片的气流的出口,该出口在环形文丘里管和环形分流器的后端之间的周向限定在喉部下游的轴向位置处。

GE_Patent_4来源:US10591164B2

在分流腔与环形分流器的后端之间连通的多个排放孔相对于中心线轴线成锐角,以使从那里排出的空气相对于中心线轴线产生涡流。并且其中空气从多个排放孔排放,使得来自内部旋流器叶片的气流的出口与平面重合。

与现有技术相比,GE通过3D打印-增材制造的燃料喷嘴具有多个优点。它提供了分流有效冷却的方法,并具有良好的空气动力学和声学特性。分析表明,中空分流器,螺旋形旋流叶片和复合角文丘里管在燃料喷嘴中组合使用时特别有利。

block 3D科学谷Review

回顾GE研发3D打印喷油嘴之路堪称航空制造历史上的传奇,GE燃油喷嘴头内,迷宫一般复杂的流道将燃油与空气高效混合,可以帮助发动机实现优越的性能。而LEAP项目的成败,很大程度上取决于燃油喷嘴的好坏。

为了实现更好的功能,GE设计出了一种理想的燃油喷嘴顶部结构。这个结构最终只有核桃般大小,里面却有14条精密的流体通道。这个设计虽然精妙,但它太过复杂,几乎造不出来。GE通过传统的制造加工方式尝试了8次,但每次都失败了。

传统方法并不能解决的问题,3D打印机就像一支激光笔一样,根据电脑绘图,一层一层地将细金属粉末熔融成最终形状。正适合燃油喷嘴这样复杂精密部件的制造。此外,3D打印所产生的废料也比传统生产方法少很多。

如今,GE在制造复杂形状的功能部件已经拥有了丰富的经验,此前,3D科学谷在《GE通过3D打印改进燃气轮机中的燃料和空气的预混合》一文中提到,3D打印技术使得制造复杂形状的预混合器成为现实,GE通过3D打印的预混合器带来的旋涡运动有助于使液体燃料与空气雾化和混合,使得除了气体燃料之外还能够使用液体燃料。并且可以产生喷射稳定的火焰,带来较低的动态性和较高的火焰稳定裕度,而高出口速度可用于减少或消除火焰回火风险。

最近是 GE专利获批的集中时期,就在前不久, 根据3D科学谷的市场研究,GE还获批了将3D打印应用于燃气轮机燃烧器的液体燃料盒组件制造的专利。

GE采用3D打印-增材制造技术例如基于粉末床的选区金属熔化增材制造系统或其他增材制造系统来制造尖端。3D打印的装置有助于将液体燃料引入发电燃气涡轮机燃烧器的头端中。该装置有助于通过中央定位的液体燃料盒来输送液体燃料(或液体燃料/水混合物)。